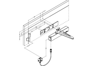
TS 4000 E * Amortizor aplicat cu braț pentru uși cu un canat, cu o lățime a canatului de până la 1400 mm, cu blocare electrică în poziție
- Forță de închidere reglabilă fără trepte (cu selectare liberă) la EN 1-6
- Tensiune de funcţionare 24 V c.c.
- Se poate utiliza pentru ușile cu opritor pe partea dreaptă și stângă, fără inversare
- Blocare electrică în poziție, cu interval de blocare în poziție 80°-175°
- Blocare electrică în poziție conform EN 1155, potrivită pentru instalații de blocare în poziție
- Forță de capăt mecanică, care accelerează ușa cu puțin timp înaintea poziției închis
- Viteza de închidere se poate adapta individual
- Afișaj optic al forței de închidere, pentru controlul ușor al setării
- Toate funcțiile se pot regla din față (cu excepţia forței de capăt)
Zone de aplicare
- Uși rezistente la foc și de protecție antifum
- Uși oscilante dreapta și stânga
- Uși oscilante cu o lățime a canatului de până la 1400 mm
- Montaj pe foaia de ușă pe partea balamalelor și montaj pe toc pe partea opusă balamalelor
Specificațiile produsului
| TS 4000 E | |
| Forță de închidere conform EN 1154 | EN 1 - 6 |
| Fără bariere conform DIN 18040, până la o lățime (max.) a canatului, în mm | 1400 mm |
| Lățime canat (max.) | 1400 mm |
| Tip de montaj | Montaj pe foaia de ușă pe partea balamalelor, Montaj pe toc partea opusă balamalelor |
| Unghi de deschidere (max.) | 180 ° |
| Tensiunea de intrare | 24 V DC |
| Compatibilitate uși rezistente la foc | Da |
| Forță de închidere reglabilă | Da, continuu |
| Viteză de închidere reglabilă | Da |
| Forță de capăt reglabilă | Da, prin intermediul brațului |
| Poziție de modificare a forței de închidere | Față |
| Afișaj optic al forței de închidere | Da |
| Blocare în poziție | Electric |
| Interval de blocare în poziție | 80 ° - 175 ° |
Descărcări
LABELLING OBLIGATION: © GEZE GmbH
Variante și accesorii
* Notă cu privire la produsele afișate
Produsele menționate mai sus pot varia în ceea ce privește forma, tipul, caracteristicile și funcțiile (designul, dimensiunile, disponibilitatea, aprobările, standardele etc.) în funcție de țară. Dacă aveți întrebări, vă rugăm să contactați persoana dvs. de contact GEZE sau să ne trimiteți un E-Mail .