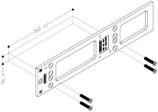
Placă de montaj amortizor de ușă * Pentru TS 5000 și TS 4000 cu șablon de găurire conform DIN EN 1154, fișa suplimentară 1
- Cu șablon de găurire conform DIN EN 1154, pagina suplimentară 1
Zone de aplicare
- Montarea corpului amortizorului conform șablonului de găurire DIN
Specificațiile produsului
| Placă de montaj amortizor de ușă | |
| Placă de montaj cu șablon de găurire conform EN 1154, fișă suplimentară | Da |
Descărcări
Variante și accesorii
* Notă cu privire la produsele afișate
Produsele menționate mai sus pot varia în ceea ce privește forma, tipul, caracteristicile și funcțiile (designul, dimensiunile, disponibilitatea, aprobările, standardele etc.) în funcție de țară. Dacă aveți întrebări, vă rugăm să contactați persoana dvs. de contact GEZE sau să ne trimiteți un E-Mail .